过氧化氢
Hydrogen Peroxide , H₂O₂
早在100多年前就证明可杀灭各种细菌、真菌、病毒及细菌芽孢,其3% 水溶液可用于人体皮肤粘膜的局部消毒,6%以上浓度可用于耐腐蚀物品的高水平消毒及灭菌。杀菌原理主要通过氧化作用,分解后产生的自由基团,破坏微生物的蛋白质、酶和遗传物质,最终使微生物死亡。
汽化过氧化氢
VHP—Vaporized Hydrogen Peroxide
20 世纪 80 年代首次用于制药行业无菌隔离器灭菌。21 世纪初被美国列入国防计划,用于 911 事件后炭疽粉末污染处理,近年已扩展至高等级生物安全实验室、突发传染病现场、医院耐药菌清除及飞机机舱等密闭空间消毒。与传统甲醛、二氧化氯气体相比,VHP 在杀菌有效性、人员安全性、材料兼容性及环境友好性上均具显著优势。
全思美特(北京)科技有限公司(TrySmet,以下简称“全思美特”)研制的DT系列新一代气化过氧化氢灭菌器采用独创低温喷射式汽化干法工艺,通过蘑菇形喷嘴与大风量风机、空压机等元件协同,将过氧化氢打散为微小粒径气体,在低温下完成汽化,彻底杜绝高温隐患。灭菌后完全降解为水和氧气,精密仪器、金属表面、墙板零腐蚀。全思美特DT系列新一代过氧化氢灭菌器目前共计5款型号,高汽化效率,高灭菌能力,低试剂消耗,低安全隐患等特性可满足不同空间、不同场景的灭菌需求,单台即可覆盖600m³的灭菌空间,支持多台联用,在生物安全与生物制药等应用领域,受到用户一致好评。
本期应用案例:
DT-300W VHP灭菌器对隔离器的灭菌消毒效果验证
1
案例概况
北京某P3实验室,采用DT-300W 型汽化过氧化氢消毒机在手套箱式隔离器的灭菌消毒效果现场验证。消毒机可通过内置传感器实时监测过氧化氢浓度,自动控制消毒剂注入;隔离器送风设单级高效过滤器、排风设双级高效过滤器,且预留消毒管道连接接口。
2
检测依据
检测依据:《消毒技术规范》2002、RB/T199-2015、GB/T 38502-2020 及 GB/T15981-2021。
3
操作流程(验证重复 3 次)
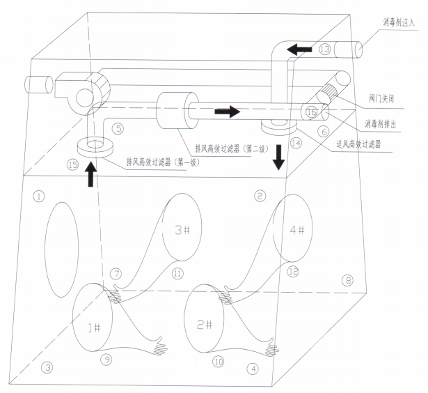
前期准备:关闭隔离器风机,选用 35% 过氧化氢溶液为消毒剂,将消毒机与隔离器接口连接并切换至消毒模式(图1),按附图2布置16个位点嗜热脂肪地芽孢杆菌生物指示剂。

图1:采用管道式连接隔离器与DT-300W灭菌器

图2:隔离器内生物指示剂布点图
消毒:设定浓度控制范围 200-250ppm,消毒机预热后以 1.0g/min 速率注剂,通过浓度、饱和度、温湿度监测实现动态闭环控制,自动计算并完成灭菌,后续进入降解阶段直至浓度达标。
采样:取出菌片,置于含 0.5% 硫代硫酸钠的培养液中,同时设置阳性(未消毒菌片)与阴性对照,56℃培养 48h 并观察,延续培养至 7d 确认结果。
4
检测结果
在初始温度 28.3℃-33.5℃、相对湿度 41.2%-53.6% 条件下,3 次重复验证中,隔离器腔体及高效过滤器上下游所有布点的生物指示剂菌体均被全部杀灭(注:菌体生长、培养液变色为阳性,反之则为阴性)。结果见附图3。

图3:隔离器内生物指示剂培养7d后结果

全思美特DT系列灭菌器目前包括DT-600N、DT-600B、DT-300N、DT-300W、 DT-100N共5款型号:
高效灭菌
能够实现6-Log彻底灭菌效果,确保空间达到最高卫生标准,为各类场所提供可靠的卫生安全保障。
智能控制
搭载先进的智能过程控制系统,可实时监测温度、湿度、过氧化氢浓度和饱和度,确保灭菌过程稳定且彻底,实现精准控制。
正负压系统
DT-300W型号内置正负压系统,能够适应不同压力环境下的运行需求,满足更高安全等级环境的灭菌要求。
安全环保
内置在线降解装置,可同步对外排气体进行实时降解,有效避免二次污染,确保灭菌过程对环境友好。
灵活应用
提供多种型号选择,能够满足从小型密闭空间到大型公共空间的多样化灭菌需求,适应性强。
多点位过程检测
可搭配多位点检测传感器探头,同时进行过程参数监测,确保过氧化氢气体均匀扩散至每个角落,保障灭菌效果的全面性。
智能远程控制
通过无线功能,设备可以实现远端Pad、手机、电脑等控制,在室内或者室外均可对设备进行操作,全程参数可见可调,以适应不同的灭菌区域和保障操作人员的安全。